近年來,隨著國際科技創新中心主平臺建設加速,亦莊地區產業持續發展,用電需求逐步上升。國網北京市電力公司通過政企聯動、多方協同機制高效推進電網工程前期工作,亦莊變電站工程于2023年6月正式開工,較計劃提前半年。該工程投運后,可優化北京電網東南部網架結構,增強區域電網供電可靠性和穩定性,為北京高精尖產業發展提供重要電源支撐,同時可為特高壓進京開辟新通道,促進能源綠色低碳轉型。
在亦莊變電站建設過程中,國網北京電力落實基建“六精四化"要求,采用預制防火墻、預制電纜溝等綠色施工技術,減少了施工現場的濕作業,提升環保水平;應用輸電智能立體安全防護、弧垂機器人等智能化建造系統,提升建設質效。該公司堅持主動式安全管理理念,聚焦“工況、變化、未知"三個關鍵點,通過“人機環管"動態管控與工程、作業、班組“三個分級"管理,使安全管控更具精準性與實效性。
“十四五"時期,國網北京電力積極服務首都經濟社會發展大局,加快建設亦莊、CBD、科學城等500千伏輸變電工程,有序推進500千伏豐臺輸變電工程前期工作,持續提升首都電力保供能力、電網安全韌性與智能化水平。

第1章 概述(SMR新型電力設備“絕緣電阻測試儀"操作簡單,方便適用)
隨著我國電力工業的快速發展,電氣設備預防性實驗是保障電力系統安全運行和維護工作中的一個重要環節。絕緣診斷是檢測電氣設備絕緣缺陷或故障的重要手段。絕緣電阻測試儀(兆歐表)是測量絕緣電阻的專用儀表。1990年5月批準實施的JJG662-89《絕緣電阻表(兆歐表)》已把它作為強制檢定的儀表之一。目前,電氣設備(如變壓器、發電機等)朝著大容量化、高電壓化、結構多樣化及密封化的趨勢發展。這就需要絕緣電阻測試儀本身具有容量大、抗干擾能力強、測量指標多樣化、測量結果準確、測量過程簡單并迅速、便于攜帶等特點。
我公司生產的SMR系列絕緣電阻測試儀采用超薄形張絲表頭、多種電壓等級輸出、容量大、抗干擾強、交直流兩用(C型)、操作簡單、具有時間提示功能。是測量變壓器、互感器、發電機、高壓電動機、電力電容、電力電纜、避雷器等絕緣電阻的理想測試儀器。
第2章 產品介紹(SMR新型電力設備“絕緣電阻測試儀"操作簡單,方便適用)
一、 產品特性
1、儀表的絕緣測試對于SMR-I在500V最高可測20GΩ, 在1000V最高可測40GΩ, 在2500V最高可測100GΩ;對于在2500V最高可測100GΩ, 在5000V最高可測200GΩ;
2、額定的輸出電壓保持在對SMR-I型負載電阻可低至4MΩ/8MΩ/20MΩ;對SMR型為20MΩ/40MΩ,這使得儀表能夠精確測量較低的絕緣阻抗。
3、自動轉換的高低范圍雙刻度指示, 彩色刻度易于讀識, 并且有LED顯示相應色彩。
4、整機采用ABS塑料機殼便攜式設計,具有抗干擾能力強、結構緊湊、外觀精美。
5、儀表采用超薄型張絲表頭,抗震能力強。
6、交直流兩用,內置可充電池和智能充電模塊,整機輸出功率大(C型)。
7、是測量變壓器、互感器、發電機、高壓電動機、電力電容、電力電纜、避雷器等絕緣電阻的理想測試儀器。
二、技術指標(SMR新型電力設備“絕緣電阻測試儀"操作簡單,方便適用)
儀表的技術指標見表1。
型 號 | SMR-II | |||||
SMR-I | ||||||
SMR-III | ||||||
輸出電壓 | 500V DC | 1000V DC | 2500V DC | 5000V DC | 10000V DC | |
精
度 | 溫 度 | 23℃±5℃ | ||||
絕緣電阻 | 1MΩ~20GΩ ±5% | 2MΩ~40GΩ ±5% | 5MΩ~100GΩ ±5% | 10MΩ~200GΩ ±5% | 20MΩ~400GΩ ±5% | |
輸出電壓 | 4MΩ~20GΩ 0~+10% | 8MΩ~40GΩ 0~+10% | 20MΩ~100GΩ 0~+10% | 40MΩ~200GΩ 0~+10% | 80MΩ~400GΩ 0~+10% | |
高壓短路電流 | ≥1mA | |||||
工作電源 | 8節AA型電池(8節AA型充電電池,外置充電器) | |||||
工作溫度及濕度 | -10℃~40℃,最大相對濕度85% | |||||
保存溫度及濕度 | -20℃~60℃,最大相對濕度90% | |||||
絕緣性能 | 電路與外殼間電壓為1000V DC時,最大2000MΩ | |||||
耐壓性能 | 電路與外殼間電壓為2500V AC時,承受1分鐘 | |||||
尺 寸 | 230mm×190mm×90mm (L×W×H) | |||||
重 量 | 2KG | |||||
附 件 | 測試線一套,說明書,合格證,充電適配器(C型) | |||||
表1:SMR系列技術指標
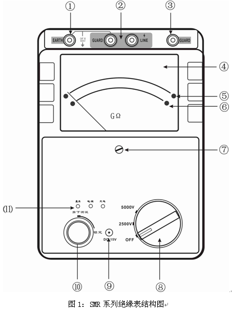
三、儀表結構(SMR新型電力設備“絕緣電阻測試儀"操作簡單,方便適用)
儀表結構圖(圖1)

2、結構說明(表2)
表2:結構圖說明 | ||
序號 | 名 稱 | 功 能 |
(1) | 地端(EARTH) | 接于被試設備的外殼或地上。 |
(2) | 線路端(LINE) | 高壓輸出端口,接于被試設備的高壓導體上。 |
(3) | 屏蔽端(GUARD) | 接于被試設備的高壓護環,以消除表面泄漏電流的影響。 |
(4) | 雙排刻度線 | 上檔為綠色:500V/0.2GΩ~20GΩ, 1000V/0.4GΩ~40GΩ, 2500V/1 GΩ~100 GΩ, 5000V/2GΩ~200 GΩ。 下檔為紅色: 500V/0~400MΩ, 1000V/0~800 MΩ, 2500V/0~2000 MΩ, 5000V/0~4000 MΩ。 |
(5) | 綠色發光二極管 | 發光時讀綠檔(上檔)刻度。 |
(6) | 紅色發光二極管 | 發光時讀紅檔(下檔)刻度。 |
(7) | 機械調零 | 調整機械指針位置,使其對準∞刻度線。 |
(8) | 波段開關 | 可實現輸出電壓選擇,電池檢測,電源開關等功能 |
(9) | 充電插孔 | 對于C型表,輸入為直流15V |
(10) | 測試鍵 | 按下開始測試,按下后如順時針旋轉可鎖定此鍵 |
(11) | 狀態顯示燈 | 可顯示高壓輸出,電源工作狀態,充電狀態等信息 |

新建500千伏渝岳線是“疆電入渝"特高壓工程的配套工程,工程起于±800千伏渝北換流站,止于1000千伏特高壓巴岳站,全長109.54千米,新建鐵塔255基,是“疆電入渝"特高壓工程配套工程中通道地形最復雜、協調難度最大的建設項目。
500千伏渝岳線下跨220千伏線路7次、110千伏及以下線路30余次,并下跨多條高速公路、鐵路及通航河道,涉及多個行業和部門配合作業,協調與施工難度均很高。渝岳線自2024年啟動建設,2025年3月1日開始放線,9月26日完成跨嘉陵江段放線。
為高效推進工程建設,重慶送變電公司積極協調各參建單位克服各種困難,多舉措強化現場安全、質量與進度管控。針對工程體量大、地形復雜、安全管控難度高的特點,該公司大力推廣機械化施工,有效降低施工安全風險,縮短建設工期。鐵塔組立期間,綜合考量地形、環境、鐵塔高度及重量等因素,采用“吊車+落地雙搖臂抱桿"模式完成組立;跨越作業時,應用集控智能可視化牽張設備放線,實現牽張設備集中控制、放線全過程視頻監控及后臺一體化管控,確保施工在最高安全系數下開展。同時,嚴格執行最小單元負責人面試上崗制度,保障最小單元負責人能真實有效把控現場情況。
500千伏渝岳線計劃2025年11月具備帶電條件,該線路投運后,將連接起±800千伏渝北換流站與1000千伏特高壓巴岳站“一交一直"兩座特高壓變電站,把來自新疆的清潔能源輸送至重慶內外環主干電網北部內外雙環,構建重慶電力供應雙重保障體系,提升供電可靠性,助力重慶主干電網升級發展。
近日,上海來揚電氣專業技術團隊奔赴徐州重要合作單位,進行一批檢測設備的安裝和技術調試服務。
我公司技術人員通過理論講解,實操演示、現場答疑,確保使用客戶能夠熟練掌握產品性能,提升客戶自身維護產品的能力。安裝完畢后,客戶對我公司產品性能表示肯定,對我公司技術人員專業水平表示認可,為長期合作奠定牢靠的基礎。我們也將致力于客戶的需求為導向,及時做到產品智能化升級與更新,確保我公司產品與時俱進。